Xiaomi, akıllı telefonlarda bulunan pop-up kamera modülü için yeni bir patent başvurusunda bulunurken, patent onaylandı.
Açılı kamere teknolojisi aslında akıllı telefonlar için daha önce denenmemiş değil. Xiaomi’nin aldığı yeni petentte tamamen farklı bir çalışma mekanizması yer alıyor. Yeni mekanizma, cihazın tam ekran görüntüsünün herhangi bir zarar görmeden düzgün bir şekilde kullanılmasını sağlıyor.
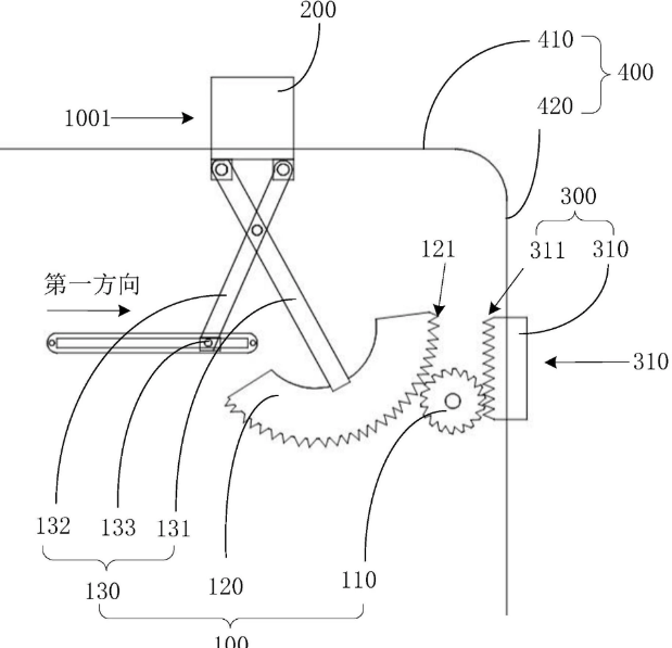
Gelen bilgilere göre, Xiaomi Mobile Software Co., Ltd. kısa süre önce yeni bir patent aldı ve de onaylanmış durumda. CN217883600U kodu ile alınan patent “kamera hareketli mekanizma ve elektrikli ekipman” olarak adlandırılmış durumda.

Raporlara göre elektronik cihazlar ve kameralar için hareket eden bir mekanizma ile ilgili. İletim mekanizması, kamera hareket mekanizmasının bir parçasıdır. Bağlı bir güç girişi ucu, bir düzlemsel bağlantı mekanizması ve bir güç çıkışı ucu, iletim mekanizmasını oluşturur. Tahrik kısmı, güç çıkışı ucunu, güç girişi ucu ve düzlemsel bağlantı mekanizması yoluyla birinci konum ile ikinci konum arasında hareket etmek üzere hareket ettirmek için kullanılır ve kamerayı hareket ettirir. Tahrik kısmı, güç çıkışı ucunu birinci konum ile ikinci konum arasında hareket ettirmek için sürmek için kullanılıyor.
Elektronik cihazın tam ekranı, görüntü panelinin bütünlüğünü tehlikeye atmadan kameranın normal kullanımına izin verirken gerçekleştirilebilir. Kamerayı hareket ettirmek için kullanılan mekanik yapı basit ve güvenilirdir ve ayrıca kullanımı kolay bir arayüze ve ucuz işletme maliyetlerine sahip.






