Japon teknoloji devi Sony kısa süre önce CES 2022’de PlayStation VR2’yi tanıttı ve bazı özelliklerini ve işlevlerini gösteren bazı oyun içi görüntüleri sağlarken çıkaracağı yeni teknoloji hakkında da ipuçları verdi.
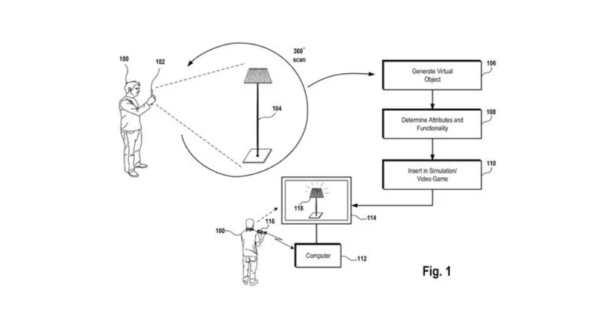
Sony her zaman için teknolojide yeniliklerin öncüsü olmuştur, şu an kullanılan en yeni teknolojik gelişmelerin de başında yer alıyor ve şimdi şirketin oyuncuların gerçek dünya öğelerini video oyunlarına ve VR alanlarına yerleştirmesine izin verebilecek bir 3D Tarayıcıyı ortaya çıkaran yeni bir patenti ortaya çıktı.
GameRant tarafından hazırlanan bir rapora göre , patent ilk olarak 2021 yılının Haziran ayında patent ofisine sunuldu, ancak Sony, diğer patentlerle olan çelişkiler nedeniyle düzeltmelerle yeniden göndermek zorunda kaldı.

Patentte sağlanan bir şekilde, yaklaşmakta olan teknolojinin kullanıcıların gerçek hayattaki nesneleri taramalarına izin vereceğini ve daha sonra sanal alana dönüştürülebileceğini gözlemleyebiliriz. Sony, teknolojinin açık bir kullanımından bahsetmedi. Yine de, bazı olası uygulamalar onu gerçek hayattaki öğeleri oyuna dönüştürmek için VR oyunlarında kullanabilir , gerçek hayattaki eşyalarınızı sanal alanda oluşturmak için sürekli büyüyen metaverse kullanıyor ve hatta animatörler ve oyun geliştiriciler için bir araç olabilir. potansiyel olarak işlerini çok kolaylaştırıyor.
Tamamlanma onayının, patent için henüz Sony’ye verilmediğini, bu nedenle bu teknolojinin kullanıma sunulması için bir süre beklememiz gerekebileceğini unutmamalıyız, ancak beklememize değecek bir gelişme olduğunu da söylemekte fayda var.
Karşınızda GTA oyunundan çıkma BMW iX






