Ekran teknolojileri konusunda Samsung’la birlikte zirvede yer alan LG, şu aralar çift ekrana sahip akıllı kalem üzerinde çalışıyor. İşte bu ilginç cihaza dair ilk detaylar.
LG’nin ekran teknolojileri konusunda ne kadar üst düzey bir şirket olduğunu zaten biliyoruz. Hatta bu konuda bir diğer Güney Koreli teknoloji şirketi Samsung’la amansız bir rekabet içerisinde olduğunu da görüyoruz. Dolayısıyla rekabet dozajının bu kadar yüksek olduğu bir sektörde, benzersiz yenilikler sunmak da büyük önem arz ediyor.
Bu bağlamda LG’nin yeni akıllı kalemi, ciddi anlamda fark yaratacak gibi görünüyor. Hali hazırda Apple, Samsung ve Microsoft gibi şirketlerin de akıllı kalem olarak lanse ettikleri ürünler mevcut.
Fakat kısa bir süre önce LG tarafından patentlenen yeni nesil akıllı kalem, olayı bambaşka bir boyuta taşıyor.
LG’den rulo ekranlı akıllı kalem
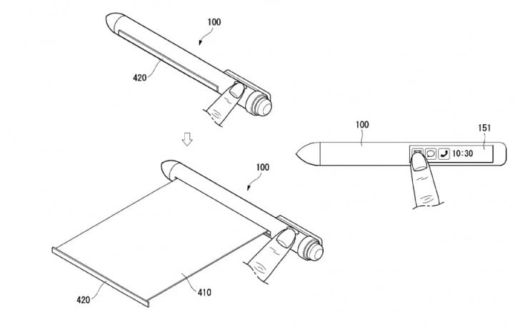
Öncelikli olarak, LG’nin akıllı kalemi çift ekran ile geliyor. Bu ekranlardan birisi kalemin üzerine yerleştirilirken, büyük olanı ise rulo şeklinde kalemin içerisine gizlenmiş durumda.
Küçük olan ekran, kısayollar ve bildirimler için kullanılırken, büyük olan ekran ise kalemi tablet ya da telefona dönüştürebilme yetisine sahip.

Bu ekranı açmak için kalemin üzerine konumlandırılmış olan tuşa basmanız yeterli oluyor. Yine aynı tuşla ekranı kalemin içerisine geri sardırabiliyorsunuz.
Hali hazırda LG’nin rulo şeklini alabilen ekran teknolojisine sahip olduğunu biliyoruz. Fakat böylesine bir akıllı kalem geliştirmek için yeterli teknoloji mevcut mu, işte bu kısım biraz muamma diyebiliriz.






