Günümüzde akıllı telefon ve tabletlerin en ciddi sorunları arasında pil ömrü ve şarj konularını gösterebiliriz. Son yıllarda hızlı şarj teknolojilerinde önemli gelişmeler söz konusu. Bir yandan kablosuz şarj teknolojileri de yaygınlaşıyor, ama haliyle daha fazlası lazım. Görünüşe göre Disney’in ardından Samsung da bazı çalışmalar yapıyor.
Bir süre önce gelen haberlerde, Disney’in OTA şarj teknolojisi üzerinde çalışmalar yaptığı bildirilmişti. Konuyu basitçe açıklamak gerekirse, bulunduğunuz birçok yaşam alanında telefonunuz ya da tabletiniz otomatik olarak şarj olabilecek. Çünkü bu yaşam alanlarında kablosuz şarj için özel bir cihaz bulunacak ve böylece bölgeye adım atar atmaz cihazlarınız da şarj olmaya başlayacak. Herhangi bir kabloya ya da pad’e ihtiyacınız olmayacak.
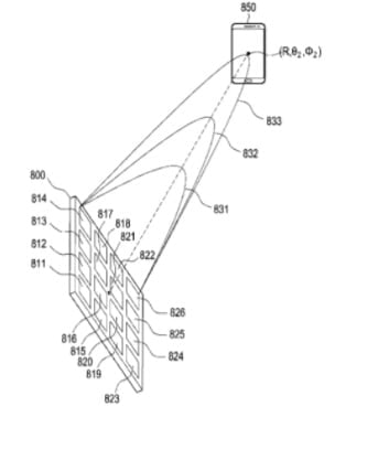
Samsung tarafından 2016 yılında alınan ve geçtiğimiz günlerde ortaya çıkan bir patent de Samsung’un aynı amaç için çalışmalar yaptığını ortaya çıkardı. Belgeye göre bir odada akıllı cihazların otomatik şarj edilebilmesi için bir cihaz yer alıyor ve siz bu odaya adım attığınızda cihazınız da kapsama alanına girdiği için şarj olmaya başlıyor. Eğer bu sistem başarılı bir şekilde hayata geçirilebilirse, gün içinde yaşanabilecek şarj sıkıntıları da tamamen ortadan kalkabilir.
Beklentiler, bu teknolojinin önümüzdeki 5 yıl içinde kullanılabilir hale gelmesi yönünde. Disney mi yoksa Samsung mu önce davranır bilemiyoruz, ama ilerleyen günlerde bu konuyla ilgili başka şirketlerin de çalışmalar yapması muhtemel.

–
Mark Zuckerberg: Eğer yapamıyorsak, bunu hak etmiyoruz demektir






