Çinli teknoloji devi OPPO modüler kamera üzerinde çalışmalara başladı. OPPO’nun yeni telefonunun kamerası değişebilir yapıda olabilir.
OPPO, son yıllarda akıllı telefon teknolojisinde yenilik yapma konusunda oldukça çaba harcıyor. Kasım ayında OPPO, Shenzhen’de Gelecek Teknolojisi Konferansı’nı düzenledi. Toplantıda OPPO, dünyanın ilk kaydırmalı ekran konsept telefonu OPPO X 2021’i ve ikinci AR gözlükleri olan OPPO AR Glass 2021 adlı konsept ürününü piyasaya sürdü. Şimdi ise OPPO modüler kamera üzerinde çalışmalarına başladı.
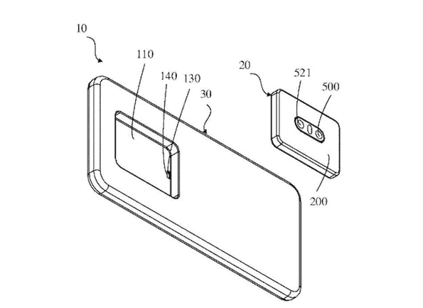
Son zamanlarda yepyeni bir OPPO patenti birçok kullanıcının dikkatini çekti. Patent belgelerine göre OPPO, telefon gövdesinden ayrılabilen bir kamera tasarımı için başvuruda bulundu. Kamera modülü çıkarıldıktan sonra uzaktan çekim için kullanılabilir. Elbette bunun yanında, özçekimler için kullanmak gibi sayısız kullanım senaryosu bulunuyor.
Ayrıca, patent açıklamasına göre, kamera modülünün dahili bir bataryası var ve USB-C, Wi-Fi, Bluetooth ve NFC bağlantılarını destekler. Ek olarak, kamera modülünde iki sensör ve hap şeklinde bir LED flaş bulunuyor.
Xiaomi Poco F2 Pro için güncelleme zamanı
OPPO’nun modüler kamera patenti, telefonun içine ek bir kamera yapısı eklemenin yanında aynı zamanda tüketicilere daha fazla oynanabilirlik ve daha yüksek özgürlük sağlayabilir.

2016 yılında Motorola, özelleştirilebilir modüllere sahip ilk amiral gemisi akıllı telefon Moto Z’yi piyasaya sürdü. Bu makinenin en büyük satış noktası Hasselblad kamera, projektör, JBL ses, pil ve arka kabuk olmak üzere beş modüler tasarıma sahip olmasıydı. Ancak Motorola bu girişimi ile pek başarılı olamamıştı.
Muhtemelen OPPO, Motorola’nın hatalarından ders alacak ve karşımıza daha efektif bir şekilde kullanılacak yeni kameralar ile çıkacak. 2021 yılında telefon sektöründe özellikle de kamera açısından büyük sıçramalar yaşanacak gibi görünüyor.






