Merkezi Chicago, Libertyville, Illinois şehrinde bulunan iletişim şirketi Motorola, katlanabilir ekranlı bir akıllı telefon piyasaya süren ilk şirketlerden biriydi. Ancak Moto Razr ve 5G varyantının ortaya çıkmasından bu yana yaklaşık 1,5 yıl içinde hiçbir şey duymadık.
Motorola yeni bir katlanabilir telefon için paten aldı. Telefon üreticileri tarafından gerçekleştirmek istenen ve 2019 yılı ile pazara sunmayı başardıkları katlanabilir telefon sektöründe cihaz sayısı artıyor.
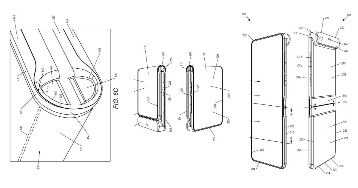
Şimdi WIPO (Dünya Fikri Mülkiyet Örgütü) tarafından telefon üreticisi Motorola’ya Razr gibi uzun ve dar başka bir katlanabilir telefon için patent verildi. Patent verilen modelde ekran dışarıda ve katlanabilir ekran onu sarıyor. Nitekim katlandığı zaman çift ekranlı bir cihaz oluşturuyor.

Motorola yeni bir katlanabilir telefon için paten aldı
Patent, kamera kurulumu için telefonun üstünde küçük bir adanın kaldığını ortaya koyuyor, yani bu durumda ekranın alt kısmı daha kısa kalıyor. Yeni patentli cihazı hayal etmenin kolay bir yolu, Moto Razr ve Royole Flexpai’nin bir geçişi şeklinde olacağını düşünebiliriz.
Yeni modelde menteşe, kırışıklığı en aza indirecek ve telefonun herhangi bir boşluk olmadan aynı hizada katlanmasına izin verecek tamamen yeni bir çözüm olacak. Patent verilen cihaz piyasaya çıkarsa panelin serbestçe bükülmesini sağlamak için asıl mekanizma içinde hareketli parçalar bulunacak. Bu tasarımın bazı belirgin avantajları var ve katlanabilir paneller için güçlü koruyucu camın nihayet gelmesi durumunda Motorola’nın piyasaya sunacağından şüphemiz yok.
En çok istenen yenilik Instagram’a geliyor!






