Amazon’da uzun zamandır beklenen drone ile teslimat geçtiğimiz Aralık ayında resmi olarak gerçekleştirilmişti. Şimdiyse yeni bir patent üstünde çalışılıyor.
Şimdiye kadar teslimatlar; drone’un, yükünü bırakmak üzere teslimat noktasına en yakın boş araziye iniş yapmasıyla gerçekleştirilmişti. Drone ile teslimat için halen birçok uygulama güçlüğü, yasal ve teknik detaylar tartışma konusuydu. Teslim edilecek paketin yere indirilmesi de bunlardan biriydi.

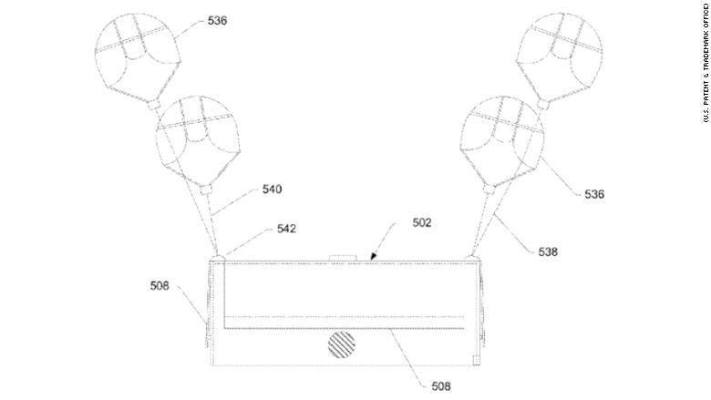
Bu patent sayesinde; kargonuz, dronelardan bırakılan paraşütlerle teslim edilecek. Drone, seçilen noktayı yukarıdan izleyecek ve kargonuz paraşüt sayesinde iniş yapabilecek.
İlginizi çekebilir: Amazon Artık iPhone’ları Drone’la Teslim EdecekGökyüzünden süzülen oyun ve kitaplar, Amazon’un drone sevkiyatı için sahip olduğu en garip fikir değil. Geçen yılın sonunda ortaya çıkan başka bir patentte, kısa menzilli uçakların konuşlanacağı istasyon tarzı yüzden ambarlar tanımlanmıştı. Tabi bu fikir şimdilik kağıt üstünde kaldı.

İlk resmi teslimatını Cambridge’de, insanlar ve hayvanların yaşadığı yoğun nüfuslu şehir merkezlerinden uzakta gerçekleştiren Amazon; drone ile teslimat ağını en ilgi çekici yöntemi haline getirmek istiyorsa şehir dostu çözümlere ihtiyacı olacak gibi.






