Apple’ın ilk akıllı saati Apple Watch, firmanın bir sonraki duyuracağı ürünlerden bir tanesi. ABD patent ofisinin internet sitesinde ikinci nesil Apple Watch için bir patent göründü. Detayları haberimizde.

Apple Watch, firmanın 2014 yılında duyurduğu, geçtiğimiz Nisan ayında satışına başladığı bir akıllı saat. Ancak öyle sıradan bir akıllı saat değil. An itibariyle 7 milyondan fazla satış rakamına ulaşan dünyanın en popüler akıllı saatinden bahsediyoruz. Apple şimdi bu ürünü yenilemek için çalışıyor.
USPTO yani ABD’nin patent ofisine yapılan bir başvuru, ikinci nesil Apple Watch’u işaret ediyor. Bu patentin detaylarına geçmeden önce şundan bahsedelim, söz konusu patentin bir giyilebilir teknolojiye ait olduğu kesin. Ancak uzun vadeli bir plan da olabilir. Yani ikinci nesil yerine üçüncü nesil Apple Watch’da da görebiliriz. Ancak en yakın ihtimal takvim itibariyle Apple Watch 2.
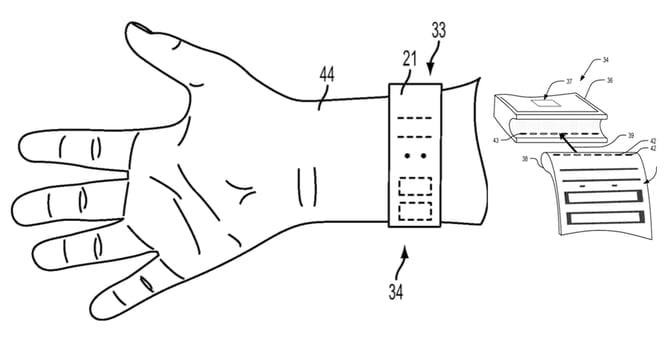
Apple Watch’ın yenileneceği kesin. Geliştiriciler, saatin performansından pek memnun değil. Ancak patentte olduğu gibi yenilenirse gerçekten ilgi çekici olur. Patent şablonunda esnek bir saat dikkat çekiyor. Bu ürün saat yerine bir bilekliği andırıyor çünkü saat ekranı şeklinde bir çıkıntısı yok. Dolayısıyla Apple’ın esnek bir ekran üzerinde çalıştığını düşünebiliriz. OLED ekran ile bu şekilde tüm bileği saran çıkıntısız bir ürün mümkün. Özellikle Samsung’un esnek pil ürettiğini de hesaba katacak olursak, bu ürün günümüz teknolojisinde mümkün görünüyor.






