Samsung’un bir sonraki amiral gemisi telefonu Galaxy X ‘i katlayıp cebinize koyabilirsiniz.
Koreli elektronik birleşim Samsung Galaxy X adı altında, Kore Fikri Mülkiyet Ofisi’ne katlanabilen akıllı bir telefon taslağı sundu.
Taslaklar LetsGoDigital tarafından keşfedildi ve son birkaç ay içinde, gizemli cihazın ticari marka uygulaması ve National Radio Society’nin Ulusal Araştırma Enstitüsünden bir lisansın dahil olduğu ek dokümanlar tarandı.

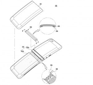
Taslak, telefonun son yılların kötü şöhretli cep telefonları gibi içeri doğru katlandığını gösteriyor. Bununla birlikte, önceki modellerin aksine, bu yeni modelin klavyesi olmayacak. Bunun yerine, bir seferde birden fazla uygulamaya erişiminizi sağlayan veya daha büyük bir ekran yapmak üzere birlikte kullanılabilen iki ekranınız olacak.
Samsung’un, bu yılın Ocak ayından bu yana Galaxy X’i yapmak için işbaşında olduğu söylendi. Bu taslakların açıklanması, telefonun beklenenden daha erken piyasaya sürüleceği anlamına geliyor olabilir, ama yine de çok umutlanmayın: Geçen ay itibariyle öngörülen çıkış tarihi 2019 olarak görünüyor.

Elbette, telefonun spekülasyonları hakkında herhangi bir şeyi doğrulayamıyoruz – taslaklar, Samsung’un göz önünde bulundurduğu tasarımları gösteriyor ancak bunlar yüzde yüz kullanmayı taahhüt ettiği tasarımlar değil. Bununla birlikte, resimler en azından şirketin pratik tasarımlarla uğraştığını, ve Galaxy X’in çift ekrana sahip olan rakiplerinin başına bela olan gizli tehlikelerden bazılarıyla yüzleşmeyebileceğini garantiliyor.






