Honor, akıllı telefon tasarımında yenilikçi adımlar atmaya devam ediyor. Future Lens 2024 etkinliğinde, 2025 amiral gemisi telefonları için geliştirdiği yeni sürgülü ekran teknolojisini tanıttı.
Honor’un sürgülü ekran teknolojisi, akıllı telefon kullanıcılarına daha geniş ekran alanı ve gelişmiş çoklu görev imkanı sunarken, cihazın taşınabilirliğini de artırıyor. Honor bu yenilik ile, akıllı telefonların kullanımını daha esnek ve verimli hale getirmeyi amaçlıyor. Ancak, bu teknolojinin başarılı olabilmesi için dayanıklılık, maliyet ve yazılım uyumu gibi faktörlerin dikkatlice ele alınması gerekiyor.

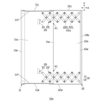
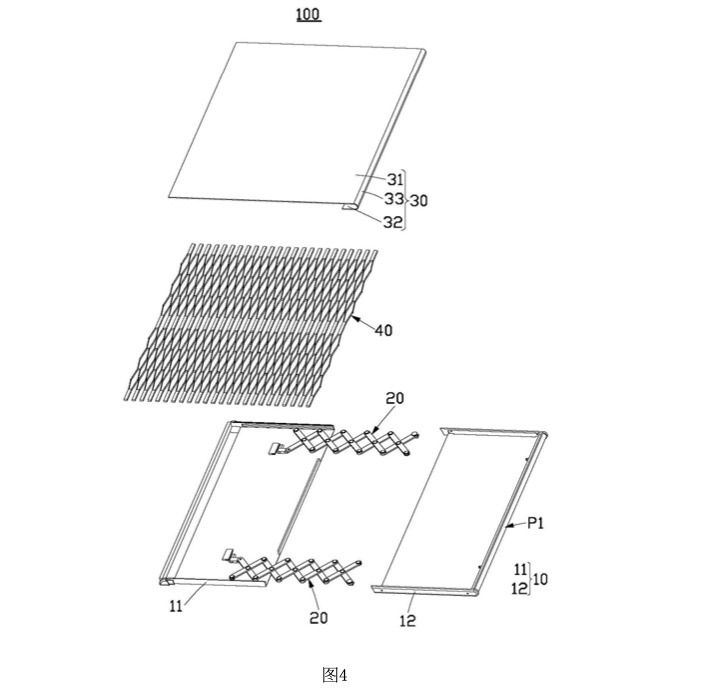
Sürgülü Ekran Teknolojisi Nedir?
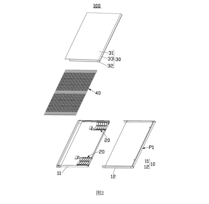
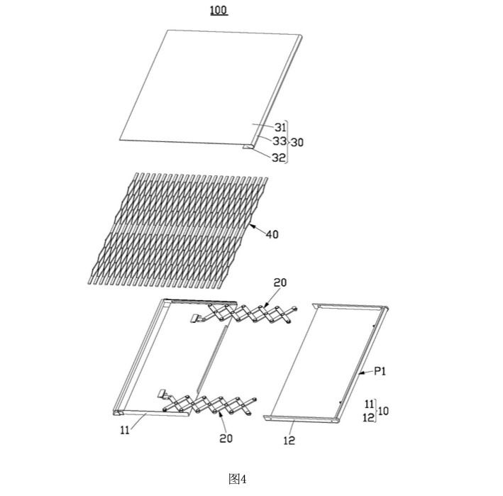
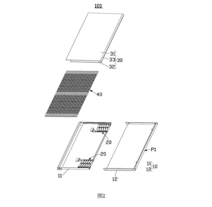
- İki Ekran Parçası: Telefon, bir sabit ekran ve kaydırılabilir bir ekran parçasından oluşuyor.
- Elastik Kirişler: Ekran parçaları, elastik kirişlerle birbirine bağlı. Bu sayede ekran kayarken daha az stres oluşuyor ve cihaz daha dayanıklı oluyor.
- Makas Mekanizması: Ekranın kaymasını sağlayan makas benzeri bir mekanizma kullanılıyor. Bu mekanizma, ekranın düzgünce geri çekilmesini ve genişlemesini sağlıyor.
Avantajları
- Gelişmiş Çoklu Görev: Daha fazla ekran alanı sayesinde birden fazla uygulamayı aynı anda kullanabilirsiniz.
- Daha Büyük Ekran: Fotoğraf düzenleme, oyun oynama gibi işlemleri daha büyük ve net bir ekranda yapabilirsiniz.
- Taşınabilirlik: Ekranı geri çekerek telefonu daha ince ve taşınabilir hale getirebilirsiniz.
- Profesyonel Kullanım: Büyük ekran, iş ve yaratıcı projeler için daha verimli bir çalışma alanı sunar.
Zorluklar
- Dayanıklılık: Hareketli ekran parçaları zamanla aşınabilir. Bu nedenle mekanizmanın sağlam olması önemli.
- Üretim Maliyetleri: Gelişmiş mekanizmalar, üretim maliyetlerini artırabilir.
- Yazılım Uyumu: Uygulamaların yeni ekran tasarımına uyum sağlaması gerekir.
Poco M7 Pro ve Poco C75 5G çıkış tarihi açıklandı








