Çinli teknoloji devi Oppo, akıllı telefon ve akıllı saatlerden sonra şimdi de sağlık sektörüne yönelik yeni yatırımlar yapmaya başladı.
Yeni Oppo Watch için geri sayım başladı. Teknoloji, günümüzde hayatımızın her alanına girmiş durumda. Sadece mesajlaşma veya sosyal medya gibi alışkanlıklarımızı değiştirmekle kalmıyor, aynı zamanda sağlık alanında da hayat kurtaran yeniliklere imza atıyor. Özellikle izleme ve müdahale için kullanılan tıbbi teknolojiler, hayatımızın vazgeçilmez bir parçası haline geldi. Bu alanda faaliyet gösteren birçok şirket, akıllı saatler ve bilekliklere entegre edilen sağlık özellikleri sunuyor. Bu şirketlerden biri de Oppo.

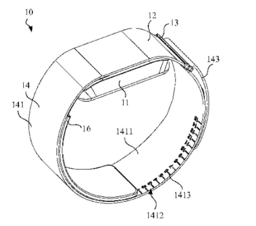
Oppo, son zamanlarda yeni bir patent açıkladı. Bu patent, kan basıncı ölçüm cihazı için hazırlanmış. Patent özeti, cihazın ana gövdesi ve iki kayıştan oluştuğunu gösteriyor. Kayışlar, ana gövdeye bağlı olarak kan basıncı ölçümü için uygun vücut bölgesine takılabilmesine olanak tanıyor. İkinci kayışın iç ve/veya yan yüzeyinde yer alan tanımlama alanları ise hava yastığı boyutunu belirleyerek kullanıcının kan basıncı ölçümü için en uygun pozisyona yerleşmesini sağlıyor.

Yeni Oppo Watch için geri sayım başladı
Bu kan basıncı ölçüm cihazının en önemli özelliklerinden biri, bilek çevresinin ölçülebilmesi. Bu sayede, kan basıncını düzenli olarak izlemek isteyen kullanıcılar için oldukça kullanışlı bir araç haline geliyor. Patent görüntüleri ise cihazın büyük bir ekrana sahip olmadığını gösteriyor. Bu, cihazın sadece sağlık ölçümleri için tasarlandığı ve diğer akıllı saatlerin sunduğu diğer işlevselliklere sahip olmayabileceği izlenimini yaratıyor. Ancak, Oppo’nun bu teknolojiyi daha fazla cihaza entegre ederek geliştirebileceği de bir ihtimal.

Sağlık teknolojileri, hayatımızı kolaylaştıran önemli yeniliklerden biridir. Oppo’nun kan basıncı ölçüm cihazı patentinin de bu alanda önemli bir adım olduğunu söylemek mümkün. Kullanıcılara kolaylık sağlayacak bu teknolojinin ne zaman hayata geçeceği ise henüz bilinmiyor. Ancak, teknolojinin hızlı ilerleyişi göz önünde bulundurulduğunda, bu cihazın kısa sürede hayatımızda yer alabileceği tahmin ediliyor. Yeni Oppo Watch için geri sayım başladı.
Pornhub sitesine erişim engellendi






