Apple son zamanlarda su geçirmezlik konusunda adımlar atıyor gibi duruyor. Firmaya ait yeni bir patent ortaya çıktı. Detaylar haberimizde.

iPhone 6 ve iPhone 6 Plus modellerinin suya, standart cihazlardan bile az dayanması, firmanın eleştirilmesine sebep olmuştu. Daha sonra Apple, iPhone 6s ve iPhone 6s Plus modellerinde telefonun kasasında conta, bazı önemli devrelerin üzerinde ise sıvı temasını önleyen bir malzeme kullanmıştı. Şimdi ise çok daha karmaşığı gündemde.
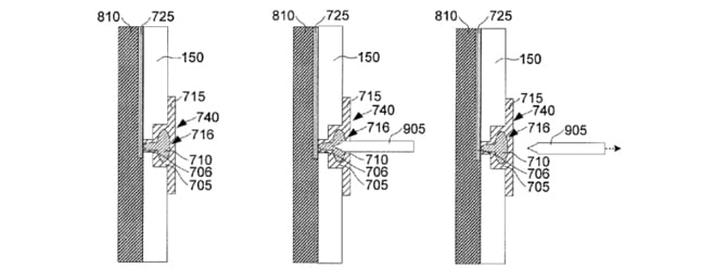
Geçtiğimiz yıla ait olan bir patent başvurusu henüz ortaya çıktı. Bu patent başvurusuna göre Apple, cihazın giriş-çıkış yuvasını içten özel bir plastik ile koruyacak. Bu sayede cihazın sıvı temasına karşı dayanıklılığı artacak. Söz konusu yenilik şimdilik patent başvuru aşamasında yani kullanılan herhangi bir cihaz yok.
Telefonun kulaklık ve şarj kablolarının giriş portları için düşünülen bu sistem, içeriden özel bir plastik parçaya ihtiyaç duyuyor. Bu parça esnek ve port kullanıldığı zaman herhangi bir engel teşkil etmiyor. Kulaklık veya şarj jakı geri çekildiğinde, esnek parça ilgili bölümü içeriden kapatıyor. Bu sayede port kullanılmıyorken su geçirmez oluyor.
Son aylarda Apple ve su geçirmezlik sıkça gündeme gelen bir gelişme oldu. Apple da önümüzdeki iPhone modellerinde Sony ve Samsung gibi su geçirmezlik iddiası taşıyan cihazlarla karşımıza çıkabilir. Patente dair yayınlanan şablonları haberimizin içerisinde bulabilirsiniz.







