Akıllı Telefon Üçe Katlanan Galaxy Z TriFold, Beklenenden Önce ve Çok Güçlü Geldi Yalçın AS - 10 Aralık 2025
Akıllı Telefon Samsung First Look Tarihi Netleşti: Galaxy Z TriFold ve Yapay Zeka Vizyonu Sahneye Çıkıyor Yalçın AS - 05 Aralık 2025
Akıllı Telefon Samsung, Galaxy Z TriFold İle Çoklu Katlanabilir Tasarımı Resmen Piyasaya Çıkardı Yalçın AS - 02 Aralık 2025
Akıllı Telefon Galaxy Z TriFold Çok Yakında: Üç Katlı Telefon ABD’de Testlere Başladı Ahmet Timur - 16 Kasım 2025
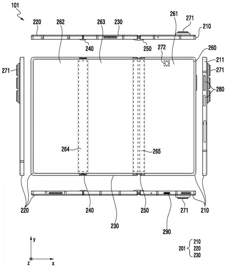
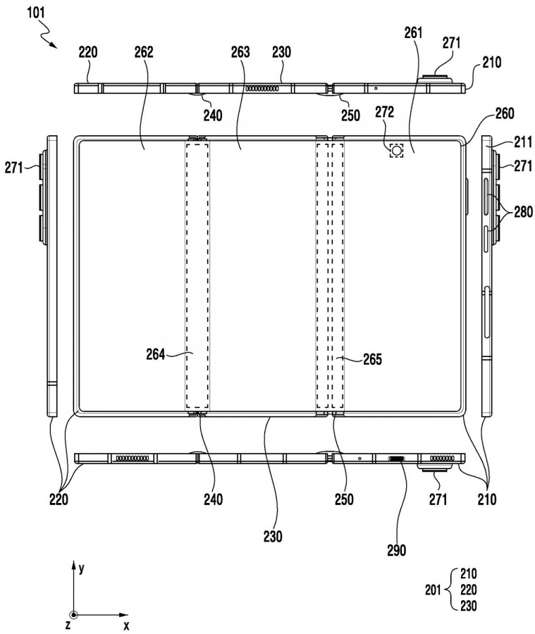
Akıllı Telefon Samsung Galaxy Z TriFold Snapdragon Çipset ve 10 İnç Ekranla Geliyor Yalçın AS - 14 Kasım 2025
Akıllı Telefon Samsung’un Üç Katlanır Telefonu Üç Pille Geliyor: TriFold İçin Yeni İpuçları Yalçın AS - 09 Ekim 2025
Akıllı Telefon Samsung’un Üç Katlı Telefonu TriFold, 200 MP Kamera ve 100x Zoom ile Yolda Ahmet Timur - 29 Eylül 2025